
据【电动志】www.diandong123.cn 于 2025 年 12 月 15 日收到的消息 ‣ 蔚来近期提交了一项取消传统轮边刹车的专利。该方案并非完全去除刹车,而是将制动机构搬迁到电机的传动轴内部,实现了轴上制动。

传统汽车的刹车系统位于轮毂附近,刹车盘和卡钳直接夹紧盘面以减速。此结构成熟但存在簧下质量大、轮边空间紧张、散热依赖气流以及刹车粉尘直排环境等问题。

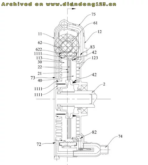
蔚来的设计采用了轴上制动的思路。类似卡丁车因轮径限制而把刹车放在轴上,这里通过“掐住轴”来间接减速,使轮毂内部不再出现刹车部件。


专利中的刹车系统被完整封装在电驱壳体内,核心是一套围绕传动轴的三明治式摩擦结构。摩擦盘与传动轴同速旋转,一侧固定在壳体内,另一侧可沿轴向移动的驱动盘在制动时夹住摩擦盘,实现减速。

与传统液压卡钳不同,专利采用螺纹副结构。驱动盘外缘设外螺纹,外部套有内螺纹齿圈。小电机通过蜗杆驱动齿圈旋转,使驱动盘沿螺纹前后移动,实现夹紧或释放。蜗轮蜗杆的自锁特性保证在不供能的情况下仍能保持制动力,同时兼具手刹功能。

这种设计给用户带来的首要好处是降低簧下质量。刹车盘和卡钳不再挂在轮边,悬挂需要控制的非簧载质量明显减少,提升底盘响应、舒适性、NVH以及极限操控,同时释放了轮罩空间,为空气动力学布局或更大转向角度提供余地。

其次是更专业的冷却系统。传统轮边刹车依赖空气流动散热,而轴上制动被封闭在金属壳体内,风冷几乎不可行。专利在结构上加入了双面液冷:驱动盘背面与壳体之间设冷却流道,冷却液呈螺旋流动;摩擦盘两侧几乎贴合水冷板,能够在长下坡或反复重刹等工况下防止热衰减。

第三个优势是对刹车粉尘的封闭管理。传统轮边刹车产生的粉尘直接排入空气,既污染环境又使轮毂脏污。轴上制动器将粉尘限制在壳体内部,维护时可集中处理,类似刮胡刀的粉尘收集盒。

尽管优势明显,但该技术尚未大规模采用,主要原因在于热管理的复杂性。虽然引入了液冷系统,但制动摩擦产生的瞬时高热必须与电机、齿轮等已有热源共享同一冷却回路,提升了散热设计难度,也对系统异常时的安全性提出更高要求。

此外,制动力需通过整个传动系统传递,包括齿轮、轴承甚至电机转子。零部件在极端工况下的强度和寿命要求更严苛,导致成本和设计难度上升。

在量产层面,深度集成带来的维修保养挑战也不容忽视。刹车系统成为电驱总成的一部分,维修时可能需要拆卸电机,增加了维修流程的复杂度,对供应链和售后服务提出新要求。

选车侦探的观点是,蔚来的专利并未彻底去除刹车,而是将其从轮毂迁入电驱系统,释放轮毂空间并降低黄下质量,从而提升操控灵活性。缺点在于后期维修复杂、成本上升。读者可自行评估这种设计的可靠性。
综合自网络信息
Leave a Reply
You must be logged in to post a comment.